修改二级域名是一个涉及多个技术步骤和管理操作的过程,通常需要根据你的使用场景(如网站建设、服务器配置、DNS解析调整等)选择合适的方法,以下是详细的操作指南,涵盖常见修改方式、注意事项及工具使用,帮助你顺利完成二级域名的调整。

明确二级域名的定义和用途,二级域名是主域名下的子层级,例如在主域名“example.com”下,“blog.example.com”就是二级域名,修改二级域名可能涉及更换域名前缀、调整解析记录或更改关联的服务器配置,具体操作需根据当前场景确定,以下是几种常见修改场景的详细步骤:
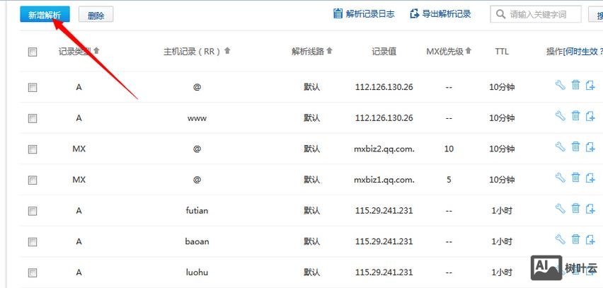
通过域名注册商修改DNS解析
如果你的二级域名仅用于指向特定服务器或服务(如网站、邮箱),最常用的方式是修改DNS解析记录,以常见的域名注册商(如阿里云、腾讯云、GoDaddy等)为例,操作步骤如下:
- 登录域名注册商管理后台,进入“DNS解析管理”或“域名解析”页面。
- 找到需要修改的二级域名记录(如A记录、CNAME记录或MX记录)。
- 修改记录值:若要将“blog.example.com”指向新的IP地址,需将A记录的“值”更改为新IP;若要更换到其他域名(如通过CNAME跳转),则需修改C记录的值为目标域名。
- 保存修改并等待生效,DNS解析生效时间通常为几分钟至48小时(取决于TTL设置和本地DNS缓存)。
注意事项:修改DNS解析前,确保新目标服务器(IP或域名)已配置正确,否则可能导致服务中断,若二级域名用于邮箱服务,还需同步修改MX记录,并确保邮件服务器支持新域名。
通过服务器配置修改二级域名绑定
若二级域名用于网站托管,且需修改关联的网站根目录或服务器配置(如Nginx、Apache),需登录服务器进行操作,以下是Nginx和Apache的配置示例:

Nginx配置修改:
- 登录服务器,编辑Nginx配置文件(通常位于
/etc/nginx/sites-available/或/usr/local/nginx/conf/)。 - 找到对应二级域名的server块,修改
server_name和root(网站根目录)参数。server { listen 80; server_name newblog.example.com; # 修改为新的二级域名 root /var/www/newsite; # 修改为新的网站目录 index index.html; } - 保存文件后,执行
nginx -t检查配置语法,无误后运行nginx -s reload重新加载配置。
Apache配置修改:
- 编辑Apache虚拟主机配置文件(如
/etc/apache2/sites-available/000-default.conf)。 - 修改
ServerName和DocumentRoot参数,<VirtualHost *:80> ServerName newblog.example.com # 新二级域名 DocumentRoot /var/www/newsite # 新网站目录 </VirtualHost> - 保存后运行
sudo a2ensite启用配置(若为新站点),并执行sudo systemctl restart apache2重启服务。
注意事项:修改服务器配置前,备份原配置文件;确保新网站目录权限正确(如chown -R www-data:www-data /var/www/newsite),避免403错误。
更换二级域名前缀(如从blog.example.com改为news.example.com)
若需完全更换二级域名前缀,需同时操作DNS解析和服务器配置:
- 在域名注册商处添加新的二级域名解析(如“news.example.com”指向原IP)。
- 服务器端配置中,将
server_name改为新前缀,并确保网站内容或程序支持新域名(如WordPress需修改后台“设置-常规”中的站点URL)。 - 旧二级域名可选择保留解析(301重定向到新域名)或删除,避免重复内容影响SEO。
工具推荐:使用ping或nslookup命令验证DNS解析是否生效;通过curl -I 域名检查HTTP响应状态码,确认服务器配置正确。
常见问题与风险规避
- 解析生效慢:缩短TTL值(如设置为300秒)可加快生效速度,修改后需恢复默认值。
- 服务中断:修改前确保新目标服务稳定,建议在低峰期操作。
- SSL证书问题:若使用HTTPS,新二级域名需重新申请或更新SSL证书(如Let’s Encrypt)。
相关问答FAQs
Q1:修改二级域名后,原网站内容会丢失吗?
A:不会,只要服务器端配置的网站根目录未改动,原文件内容仍保留,但需确保新域名正确指向该目录,避免因路径错误导致无法访问,若更换域名前缀,网站程序(如WordPress)可能需手动更新数据库中的URL地址。

Q2:如何验证二级域名修改是否成功?
A:可通过以下方式验证:1. 使用ping 新域名检查是否解析到正确IP;2. 在浏览器中访问新域名,确认网站内容正常显示;3. 通过在线工具(如DNSChecker.org)检查全球DNS解析状态;4. 若涉及HTTPS,使用浏览器开发者工具确认SSL证书有效。
文章来源网络,作者:运维,如若转载,请注明出处:https://shuyeidc.com/wp/354373.html<
