招聘系统是企业实现高效人才管理的重要工具,通过数字化流程简化招聘环节、提升招聘效率、优化候选人体验,本文将详细介绍招聘系统的核心功能、实施步骤、使用技巧及注意事项,帮助HR快速上手并充分发挥系统价值。

招聘系统的核心功能模块通常包括职位管理、候选人管理、流程自动化、数据分析与报表等,职位管理模块支持多渠道职位发布,可一键同步至招聘网站、社交媒体及内部推荐平台,同时提供职位模板库,快速生成标准化职位描述,候选人管理模块实现简历的统一收集与智能筛选,支持PDF、Word等多种格式解析,通过关键词匹配、技能评分等功能自动识别优质候选人,并按岗位需求自动分类存储,流程自动化模块可自定义招聘流程节点,如简历初筛、面试安排、Offer发放等,系统自动触发邮件提醒,减少人工操作失误,数据分析模块则实时统计各环节转化率、招聘周期、渠道有效性等指标,生成可视化报表,为招聘策略优化提供数据支持。
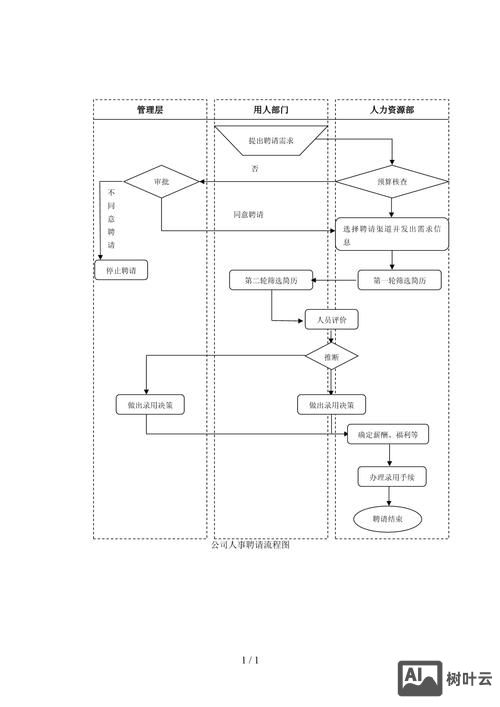
实施招聘系统前,需明确企业需求与目标,首先梳理现有招聘流程痛点,如简历处理效率低、面试协调困难等,确定系统需解决的核心问题,其次评估企业规模与招聘量,选择适配的系统版本,中小型企业可选择轻量化SaaS解决方案,大型企业则需考虑定制化功能与本地化部署,系统选型时需重点关注易用性、兼容性(如与OA、人事系统的集成能力)及售后服务,建议申请试用账号,让HR团队实际操作体验,数据迁移是实施关键步骤,需整理历史招聘数据(如候选人信息、职位记录等),按系统要求格式导入,同时建立数据备份机制,确保信息不丢失,系统上线前需进行全员培训,通过操作手册、视频教程及现场答疑,确保HR掌握各功能模块使用方法,可组织模拟招聘流程,提前发现并解决问题。
日常使用中,职位发布需注重关键词优化,在职位描述中合理植入行业术语与技能要求,提高简历匹配度,候选人筛选阶段可设置多维度筛选条件(如学历、工作经验、技能证书等),结合系统推荐的相似候选人,扩大人才搜索范围,面试安排功能支持在线日历同步,面试官可实时查看时间冲突并调整,系统自动发送面试邀请与提醒,包含视频会议链接,提升面试效率,Offer发放环节可使用模板化合同,自定义薪资结构、福利条款等信息,候选人在线确认后自动归档至员工档案,打通招聘与入职流程,定期维护系统数据,如更新候选人状态、清理过期职位等,确保信息准确性。
为提升招聘效果,可结合系统功能开展精细化运营,通过渠道分析报表识别高效招聘渠道,将预算向高转化平台倾斜;利用人才库功能激活潜在候选人,定期发送企业动态或职位推荐,建立长期人才储备,针对重复性岗位,可设置自动化初筛规则,如根据简历中的“项目经验”关键词自动标记优先候选人,缩短招聘周期,关注候选人体验,在系统内设置反馈入口,收集其对面试流程、沟通效率的评价,持续优化招聘服务质量。

数据安全是招聘系统使用中不可忽视的问题,企业需确保系统符合《个人信息保护法》等法规要求,对候选人简历等敏感信息进行加密存储,设置不同角色的操作权限(如HR可查看全部信息,面试官仅限查看分配岗位的候选人),定期检查系统日志,监控异常登录或数据导出行为,防止信息泄露,若系统支持第三方集成,需评估合作商的数据安全资质,避免因接口漏洞导致风险。
对于技术能力较弱的团队,选择提供技术支持的供应商至关重要,部分系统提供7×24小时在线客服,或配备专属客户成功经理,协助解决使用中的问题,企业可建立内部知识库,汇总常见操作指南与故障处理方法,方便HR随时查阅,鼓励HR团队参与系统用户社群,与其他用户交流使用技巧,获取最新功能更新信息。
相关问答FAQs:
问:招聘系统如何与现有的人事管理系统(HRIS)集成?
答:大多数主流招聘系统提供标准API接口或预设集成模板,支持与主流HRIS(如SAP、Workday等)实现数据互通,集成前需明确数据交互需求(如候选人信息同步至员工档案、薪资数据导入等),由IT团队或供应商技术人员进行配置,集成后需进行测试,确保数据传输准确性与实时性,例如验证候选人入职后信息是否自动更新至HRIS,避免重复录入。
(图片来源网络,侵删)问:如何确保招聘系统中的候选人数据符合隐私法规要求?
答:在系统设置中开启数据加密功能,对存储的简历、联系方式等信息进行加密处理,并限制数据访问权限,仅授权人员可查看敏感内容,建立数据生命周期管理规则,如候选人未通过面试后,系统自动将其信息归档至历史库,并设置定期删除时限(如2年后自动清除),在候选人提交简历时,需明确告知数据收集目的、使用范围及存储期限,获取其书面同意,避免法律风险,建议定期邀请法务团队审查系统隐私设置,确保符合最新法规要求。
文章来源网络,作者:运维,如若转载,请注明出处:https://shuyeidc.com/wp/431181.html<
