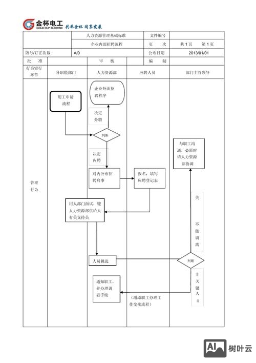
招聘程序是指企业或组织为了吸引、筛选和录用符合岗位要求的人才而遵循的一系列系统性步骤,旨在确保招聘过程的公平性、高效性和科学性,最终实现人岗匹配和组织目标,一个完整的招聘程序通常包括需求确认、信息发布、简历筛选、测评考核、背景调查、录用决策、入职准备等环节,每个环节都有其特定的操作规范和注意事项,下面将详细展开说明。

招聘需求确认
招聘程序的首要环节是明确招聘需求,这通常由用人部门根据业务发展、人员离职或岗位扩编等情况提出申请,人力资源部门需对需求进行审核与评估,具体内容包括:确认岗位名称、所属部门、工作职责、任职资格(如学历、专业、工作经验、技能证书等)、薪酬预算、到岗时间等关键信息,人力资源部门需结合公司组织架构、人员编制及发展规划,判断需求的合理性与紧急程度,必要时与用人部门沟通调整,避免盲目招聘或岗位设置冗余,此环节需形成书面的《招聘需求审批表》,经部门负责人及分管领导审批后方可启动后续流程。
招聘方案制定与信息发布
需求确认后,人力资源部门需制定详细的招聘方案,确定招聘渠道、招聘周期及预算,招聘渠道分为内部招聘和外部招聘:内部招聘主要通过内部晋升、岗位轮换等方式实现,有助于激发员工积极性、降低招聘成本;外部招聘则包括网络招聘平台(如智联招聘、前程无忧等)、校园招聘、猎头合作、内部推荐、社交媒体招聘及现场招聘会等,不同渠道适用于不同层级和类型的岗位(如高端岗位可通过猎头,基层岗位可通过网络招聘),信息发布时,需撰写规范的招聘启事,内容应包含公司简介、岗位职责、任职要求、福利待遇及应聘方式等,确保信息真实、准确,同时突出企业优势以吸引候选人。
简历筛选
信息发布后,人力资源部门会收集大量应聘简历,需通过初步筛选和复筛两步进行筛选,初步筛选主要关注硬性条件,如学历、专业、工作经验是否符合岗位要求,排除明显不匹配的简历;复筛则结合岗位说明书,评估候选人的职业稳定性、项目经验、技能水平等软性条件,筛选出5-10名候选人进入下一环节,对于简历中模糊或存疑的信息(如工作经历断层、业绩数据不明确等),需记录并在后续面试中重点核实。
测评与考核
测评与考核是甄别候选人能力与岗位匹配度的核心环节,通常采用笔试、面试、心理测评、专业技能测试等多种形式,笔试主要用于考察候选人的专业知识、逻辑思维能力及文字表达能力,适用于研发、财务等对专业基础要求较高的岗位;面试是最常用的方式,包括结构化面试(针对岗位设计固定问题)、半结构化面试(结合固定问题与随机提问)、无领导小组讨论(考察团队协作与领导力)、行为面试法(通过过往行为预测未来表现)等,面试官需由人力资源部门及用人部门共同组成,确保评估维度全面,心理测评可辅助判断候选人的性格特质、职业倾向是否与岗位及企业文化匹配;专业技能测试则通过实操任务(如编程、设计、案例分析等)直接考察岗位所需的核心技能,测评过程中需建立统一的评分标准,避免主观偏差。

背景调查与体检
通过测评的候选人需进行背景调查,核实其学历、工作经历、离职原因、工作表现及有无不良记录等信息,背景调查可通过电话联系原单位HR、直属领导或提供推荐人证明等方式进行,重点核实关键信息的真实性,尤其是管理岗、核心岗及涉及财务、安全等敏感岗位的候选人,背景调查不合格者直接淘汰,体检环节旨在确认候选人的身体状况是否符合岗位要求,一般由公司指定医疗机构进行,检查项目包括常规体检及岗位特殊需求(如化工岗位需检查肝功能等),体检不合格者不予录用。
录用决策与沟通
背景调查与体检通过后,人力资源部门需汇总候选人的各环节评估结果,与用人部门共同确定最终录用人员,形成《录用审批表》经审批后发放录用通知书,录用通知书需明确岗位、薪酬、入职时间、报到材料及联系人等信息,同时告知候选人接受录用的回复期限,对于未录用的候选人,应通过邮件或电话礼貌反馈结果,并可将其纳入企业人才库以备后续招聘需求。
入职准备与融入
候选人确认接受录用后,人力资源部门需办理入职前的准备工作,包括签订劳动合同、办理社保公积金、准备工牌、办公设备及入职培训资料等,入职当天,需引导新人完成入职登记、资料提交、熟悉办公环境、介绍团队成员及企业文化等流程,并安排入职培训(包括公司制度、业务知识、岗位技能等),用人部门需制定试用期培养计划,明确岗位职责与考核标准,帮助新人快速适应岗位,试用期结束后通过考核者正式录用,未通过者根据情况调整岗位或终止劳动关系。
相关问答FAQs
问题1:招聘过程中如何避免主观偏见?
解答:避免主观偏见需建立标准化的招聘流程:一是制定客观的岗位胜任力模型,明确各维度的评分标准;二是采用结构化面试,对所有候选人使用相同的问题和评分表;三是实施多面试官制度,综合不同视角的评价;四是对简历筛选和面试结果进行记录存档,便于追溯与复核;五是定期对招聘团队进行培训,强调公平就业原则,减少刻板印象等主观因素干扰。

问题2:内部招聘与外部招聘各有什么优缺点?
解答:内部招聘的优点在于:候选人熟悉公司文化和业务,到岗快,成本低,且能激励员工积极性;缺点是选择范围有限,易导致思维固化,可能引发内部竞争矛盾,外部招聘的优点是:带来新知识、新技能,优化团队结构,避免“近亲繁殖”;缺点是招聘成本高,候选人适应周期长,存在与企业文化不匹配的风险,企业需根据岗位需求(如管理层优先内部,技术革新岗优先外部)灵活选择招聘方式。
文章来源网络,作者:运维,如若转载,请注明出处:https://shuyeidc.com/wp/349259.html<
